Руководства на все автомобили



1. Органы управления и приемы эксплуатации
2. Текущий уход и обслуживание
3. Двигатель
3.0 Двигатель
3.1. Проверка компрессионного давления, оценка состояния цилиндров
3.2. Бензиновые модели
3.2.1 Бензиновые модели
3.2.2 Снятие и установка двигателя
3.2.3 Снятие и установка компонентов привода ГРМ
3.2.4 Снятие и установка впускного трубопровода и выпускного коллектора
3.2.5 Обслуживание головки цилиндров и компонентов газораспределительного механизма
3.2.6 Разборка и сборка блока цилиндров, обслуживание компонентов
3.2.7 Снятие и установка поддона картера
3.2.8 Снятие, установка и обслуживание масляного насоса
3.2.9 Снятие и установка маховика/приводного диска
3.2.10 Снятие и установка маслораспылителей
3.2.11 Замена сальников коленчатого вала
3.3. Дизельные модели
4. Системы охлаждения, отопления, вентиляции и кондиционирования воздуха
5. Системы питания, управления двигателем/снижения токсичности отработавших газов и выпуска отработавших газов
6. Системы электрооборудования двигателя
7. Пятиступенчатая ручная коробка переключения передач
8. Автоматическая трансмиссия
9. Трансмиссионная линия
10. Тормозная система
11. Подвеска и рулевое управление
12. Кузов
13. Бортовое электрооборудование
14. Контрольные кузовные размеры
15. Схемы электрических соединений
16. Идентификационные номера и информационные ярлыки


Ссылки на другие сайты
 

Автомобиль Kia Sportage (Киа Спортейдж)



Все автомобили  »  Kia Sportage (Киа Спортейдж) .

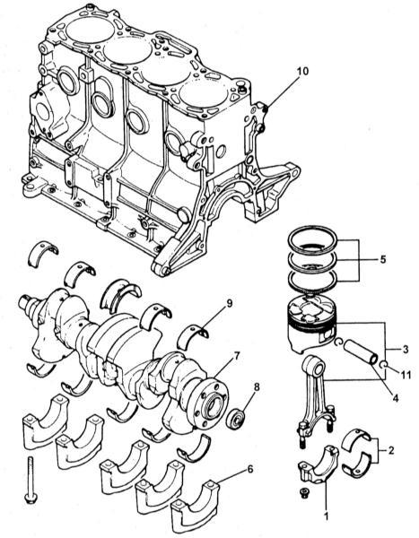
3.2.6 Разборка и сборка блока цилиндров, обслуживание компонентов

Разборка и сборка блока цилиндров, обслуживание компонентов

 border=

Демонтаж и установка коленчатого вала и шатунно-поршневых сборок может быть произведен без снятия двигателя с автомобиля.

Разборка

Конструкция блока цилиндров (см. также иллюстрацию Детали установки маховика/приводного диска)

1 — Крышка нижней головки шатуна
2 — Вкладыши шатунного подшипника
3 — Шатун с поршнем
4 — Поршневой палец
5 — Поршневые кольца

6 — Крышка коренного подшипника
7 — Коленчатый вал
8 — Направляющий подшипник
9 — Вкладыш коренного подшипника
10 — Литье блока
11 — Стопорное кольцо


 ПОРЯДОК ВЫПОЛНЕНИЯ

  1. Снимите двигатель (см. Раздел Системы электрооборудования двигателя).
  2. Снимите головку цилиндров (см. Раздел Обслуживание головки цилиндров и компонентов газораспределительного механизма).
  3. Снимите масляный насос (см. Раздел Снятие, установка и обслуживание масляного насоса).
  4. Снимите поддон картера и маховик/приводной диск (см. Раздел Снятие и установка поддона картера).
  5. Снимите задний сальник с крышкой (см. Раздел Замена сальников коленчатого вала).
  6. Выверните крепежные болты и снимите крышки коренных подшипников с сборе с вкладышами.
  7. Выверните крепежные болты и снимите крышку нижней головки первого шатуна в сборе с вкладышем. Упритесь в головку шатуна рукояткой молотка и, толкая шатунно-поршневую сборку вверх, извлеките ее из цилиндра.
  8. Действуя в аналогичной манере, извлеките оставшиеся сборки.
  9. С целью предотвращения путаницы при проверке состояния компонентов сразу же установите на свои прежние места крышки шатунных и коренных подшипников коленчатого вала в сборе с вкладышами и зафиксируйте их крепежными болтами.
  10. При помощи инерционного съемника демонтируйте установленный в задней цапфе коленчатого вала направляющий подшипник (см. иллюстрацию).

Обслуживание

 ПОРЯДОК ВЫПОЛНЕНИЯ

  1. Внимательно изучите состояние литья блока. Проверьте каждый цилиндр на наличие трещин, задиров и прочих механических повреждений.
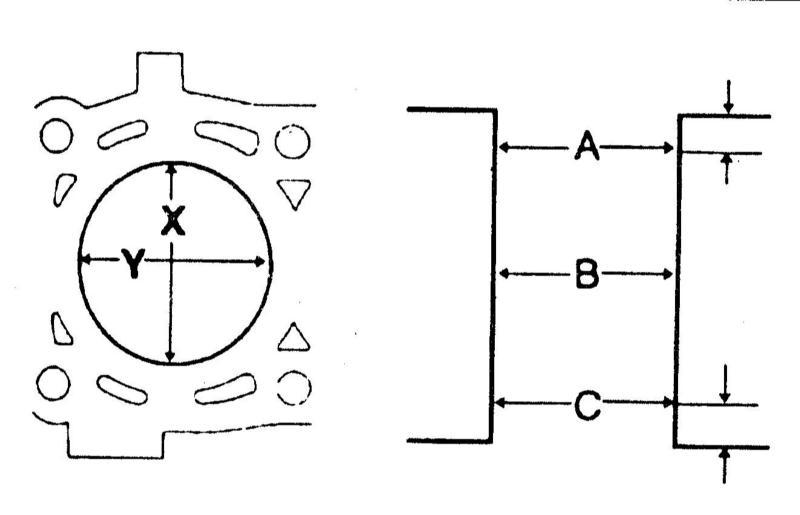
  2. Действуя в манере, аналогичной описанной в Разделе Разборка и сборка блока цилиндров, обслуживание компонентов, оцените степень нарушения плоскостности сопрягаемой с головкой цилиндров поверхности блока (см. иллюстрацию). В случае необходимости замените блок.
 border=

Восстановление плоскостности сопрягаемой поверхности блока путем ее механической обработки ни в коем случае не допустимо!

  1. Задиры зеркал цилиндры могут быть проточены до соответствующего ремонтного размера, в случае если такая обработка не представляется возможной, замените блок.
  1. Измерьте диаметр каждого из цилиндров на трех уровнях и в двух направлениях, что позволит выявить такие дефекты, как конусность и овальность. Если результаты измерений превышают предельные допустимые значения (см. Спецификации Главы Двигатель), цилиндры следует расточить до ближайшего ремонтного размера. В заключение зеркала цилиндров должны быть отхонингованы, - действуйте в соответствии с инструкциями, прилагаемыми к специальным хонинговочным наборам.
  1. Специальным зенкером удалите ступенчатый износ цилиндров, оставляемый верхним компрессионным кольцом в конце хода поршней.
  1. Снимите стопорные кольца, извлеките поршневые пальцы и произведите демонтаж поршней с шатунов.
  2. Изучите состояние поршней, в случае выявления трещин, задиров и прочих механических повреждений приготовьте замену.
  1. Измерьте диаметр каждого поршня в направлении, перпендикулярном оси поршневого пальца и на удалении в 18 мм от нижнего среза канавки под установку маслосъемного кольца. Путем сравнения результата измерения с величиной диаметра соответствующего цилиндра определите величину посадочного люфта. Если люфт превышает предельное допустимое значение, замените поршень, проточив цилиндр до ближайшего ремонтного размера.

 border=

Одновременно с поршнем следует заменять также поршневые кольца (на соответствующие ремонтного размера, - см. Спецификации Главы Двигатель).

  1. Проверьте поршневые кольца на наличие признаков чрезмерного износа, трещин, сколов и прочих механических повреждений. В случае необходимости произведите замену.
  2. Поочередно заправляя поршневые кольца в цилиндр и проталкивая их днищем поршня в нижнюю часть последнего (положение НМТ поршня), замерьте величины зазоров в замках колец (см. иллюстрацию). Сравните результаты измерений с требованиями Спецификаций Главы Двигатель, в случае необходимости расточите замки, либо замените кольца.
  3. Измерьте величину люфта посадки колец в канавках поршней (см. иллюстрацию), в случае необходимости замените кольца/поршень.
 border=

Измерение следует производить в нескольких точках периметра канавки. С этого момента кольца должны оставаться «привязанными» к своим поршням/цилиндрам.

  1. На специальном стенде поверьте шатуны на наличие признаков изгиба и скручивания (см. иллюстрацию). При превышении результатами измерений предельных допустимых значений замените дефектные компоненты.
  1. Измерьте диаметры под посадку поршневых пальцев в поршнях. Запишите результаты измерений.
  1. Измерьте диаметр поршневых пальцев в местах из запрессовки в поршень.
  1. Путем вычитания результатов первых измерений из результатов вторых определите люфт/натяг посадки пальцев в поршнях.
  2. Путем измерения соответствующих диаметров поршневых пальцев и отверстий в верхних головках шатунов определите люфты посадки пальцев в шатунах. При превышении результатами вычислений предельного допустимого значения произведите замену шатунов.
  3. Внимательно изучите состояние коленчатого вала. Проверьте его корневые и шатунные шейки на наличие задиров, следов перегрева и прочих механических повреждений. Удостоверьтесь в отсутствии нарушений проходимости масляных отверстий.
  4. Уложив вал в призмы, проверьте его на наличие изгиба при помощи измерителя DTI (см. иллюстрацию).
  5. Измерьте диаметры шеек, оцените величины их конусности и овальности. Если износ шеек превышает предельное допустимое значение, проточите их под ближайший ремонтный размер (не забудьте подобрать соответствующего размера ремонтные вкладыши), либо замените вал.
 border=

Ни в коем случае не срезайте скругления шеек, - минимальный допустимый радиус скругления составляет 2.6 ÷ 3 мм.


Радиус скруглений шеек должен составлять не менее 2.6 ÷ 3.0 мм.
  1. Изучите состояние вкладышей подшипников. В случае выявления дефектов приготовьте сменный комплект. Разложите вкладыши в порядке установки их на двигатель.

Сборка

 ПОРЯДОК ВЫПОЛНЕНИЯ

  1. Перед началом сборки удостоверьтесь в абсолютности чистоты всех компонентов.
  1. Правильным образом расположите поршень относительно шатуна.
  1. Смажьте чистым двигательным маслом отверстия в поршне и верхней головке шатуна.
  2. При помощи специальных щипцов посадите стопорное кольцо в канавку в одном из отверстий поршня, затем заправьте в последний верхнюю головку шатуна.
  1. Через подходящую оправку аккуратно застучите поршневой палец, зафиксировав поршень на шатуне. Зафиксируйте палец вторым стопорным кольцом.
  1. Действуя в аналогичной манере, смонтируйте оставшиеся шатунно-поршневые сборки.
  2. Посадите на поршни подобранные ранее поршневые кольца: сначала в нижнюю канавку поршня устанавливается предварительно смазанный маслом расширитель маслосъемного кольца, затем заводятся его рабочие секции (скребки).
Посадка верхнего скребка маслосъемного кольца.
Схема установки компонентов маслосъемного кольца.

 border=

Скребки маслосъемного кольца идентичны по конструкции и не требуют однозначности посадки при установке.


  1. Далее, в оставшиеся канавки заправляются также обильно смазанные нижнее и верхнее компрессионные кольца (не перепутайте кольца - они различаются по форме сечения), - проследите за правильностью размещения колец, - они должны устанавливаться помеченной литерой «R» стороной вверх.
  1. Разверните посаженные на поршни кольца замками в указанных направлениях.
  1. Посадите в блок цилиндров маслораспылители и затяните болты их крепления с требуемым усилием (12 ÷ 18 Нм).
  1. Тщательно протрите шейки коленчатого вала, спинки вкладышей коренных подшипников и их постели в блоке, полностью удалив с них следы масла. Вложите вкладыши и установите вал.

 border=

Упорным является центральный коренной подшипник.

  1. Еще раз протрите коренные шейки вала, уложите вдоль них калиброванную пластмассовую проволоку из набора Plastigage для определения рабочих зазоров в подшипниках скольжения.
 border=

Следите, чтобы проволока не укладывалась поверх масляных отверстий шеек!


  1. Протрите спинки вкладышей подшипников и их постели в крышках, затем установите последние, проследив за правильностью размещения и, действуя строго в определенном порядке, затяните болты их крепления с требуемым усилием.
  1. Отпустите крепеж, снимите крышки и, измеряя ширину расплющенной проволоки по шкале, нанесенной на упаковку набора Plastigage, определите величины зазоров в коренных подшипниках.

 border=

В ходе проверки не проворачивайте коленчатый вал! Если результат измерения превышает предельное допустимое значение, произведите подбор новых вкладышей, в случае необходимости проточите вал до соответствующего ремонтного размера и установите ремонтные же вкладыши.

  1. Закончив проверку, смажьте рабочие поверхности подобранных вкладышей и коренные шейки вала чистым двигательным маслом, уложите вал в блок.
  2. Установите крышки коренных подшипников, толкните вал вперед до упора, затем верните его назад и затяните болты крепления крышек с требуемым усилием.
  1. Проверьте величину осевого люфта коленчатого вала и свободу его проворачивания. Сравните результат измерения с требованиями Спецификаций Главы Двигатель, в случае необходимости подберите новый упорный подшипник.
  1. При помощи подходящей оправки, посадите на заднюю цапфу вала направляющий подшипник (см. иллюстрацию), - не забудьте предварительно смазать подшипник и цапфу двигательным маслом. После установки набейте подшипник консистентной смазкой.
  2. Аккуратно заправьте шатунно-поршневые сборки в свои цилиндры: стенки поршней и зеркала цилиндров перед установкой следует смазать чистым двигательным маслом, поршневые кольца обжать специальной оправкой; проталкивание поршней в цилиндры лучше всего производить рукояткой молотка. Проследите, чтобы поршни были установлены метками в виде литер «F» вперед по двигателю.
 border=

При возникновении сопротивления следует немедленно прекратить проталкивание поршня, извлечь сборку и удостовериться в полноте удаления ступенчатого износа в верхней части цилиндра!

  1. Посадив нижние головки шатунов на шатунные шейки вала, произведите замер рабочих зазоров в шатунных подшипниках, - действуйте в манере, аналогичной описанной выше для коренных подшипников. Помните, что вкладыши подшипников при проверке должны устанавливаться на сухую, проследите за правильностью расположения крышек.
  2. При помощи щупа лезвийного типа произведите замер величин осевых люфтов шатунов (см. иллюстрацию). Сравните результаты измерений с требованиями Спецификаций Главы Двигатель, в случае необходимости замените соответствующие шатуны.
  3. Окончательно установите шатунные крышки (смазав рабочие поверхности подшипников маслом), - проследите за правильностью совмещения посадочных меток и затяните болты их крепления с требуемым усилием.
 border=

Резьбовые части болтов и гаек перед затягиванием также следует смазать чистым двигательным маслом.

  1. Дальнейшую установку производите в порядке, обратном порядку демонтажа компонентов.


Hosted by uCoz